Ремни на комбайн ВЕКТОР
|
|||||
|
|||||
|
|||||
|
|||||
|
|||||
|
|||||
|
|||||
|
|||||
|
|||||
|
|||||
|
|||||
|
|||||
|
|||||
|
|||||
|
|||||
|
|||||
|
|||||
|
|||||
|
|||||
|
ТАБЛИЦА ПРИМЕНЕНИЯ РЕМНЕЙ НА КОМБАЙН ВЕКТОР 410
Комбайн Вектор 410 — эффективная зерноуборочная машина, выполняющая скашивание растений, измельчение стеблей и отделение зерна, загружая его в кузов автомобиля.
Измельченная солома может использоваться либо в качестве органического удобрения, либо собираться в валки для корма КРС.
Комбайн подходит для работы на небольших площадях. Рекомендуется оснащать данный комбайн ремнями, обеспечивающими надежную работу в сложных условиях.
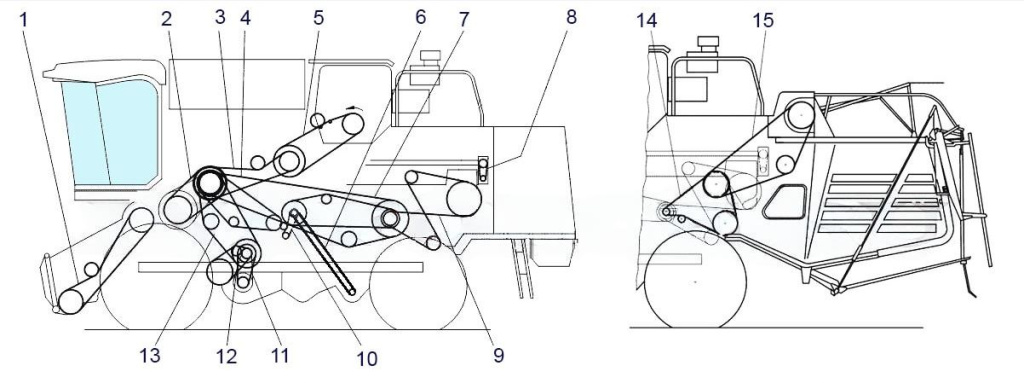
La- наружная длина, Li-внутренняя длина, Lp (Lw, Ld)-расчетная длина
Ремни комбайна Вектор (правая сторона)
1. Ремень узкоклиновой SPA-1032Lp РСМ 6201371
2. Ремень клиновой B-1320Li/1360Lp РСМ 6201028
5. Ремень многоручьевой 4HB-3750Lp/3765La РСМ 6201251
8. Ремень многоручьевой 2SPC-2240Lp РСМ 6201254
9. Ремень узкоклиновой SPC-6616Li/6700Lp РСМ 6201260
11. Ремень узкоклиновой SPC-3066Li/3150Lp РСМ 6201271
12. Ремень узкоклиновой SPC-6616Li/6700Lp РСМ 6201260
13. Ремень узкоклиновой C-5772Li/5830Lp РСМ 6201017
Ремни комбайна Вектор (левая сторона)
1. Ремень многоручьевой 4HB-4275Lp/4290La РСМ 6201094
2. Ремень вариаторный 68x24-2485Li/2600Lp РСМ 6201246
3. Ремень многоручьевой 5HB-3600Lp/3615La РСМ 6201015
4. Ремень узкоклиновой SPB-3090Li/3150Lp РСМ 6201272
5. Ремень многоручьевой SPC-3466Li/3550Lp РСМ 6201016
7. Ремень узкоклиновой SPB-3690Li/3750Lp РСМ 6201275
9. Ремень клиновой C-4942Li/5000Lp РСМ 6201326
11. Ремень вариаторный 38x18-1440Li/1500Lp РСМ 6201273
12. Ремень узкоклиновой SPB-1740Li/1800Lp РСМ 6201269 - 2шт.
13. Ремень узкоклиновой SPC-3466Li/3550Lp РСМ 6201297
15. Ремень узкоклиновой SPC-4166Li/4250Lp РСМ 6201197
Об условиях доставки и способах оплаты читайте в соответствующих разделах сайта или переходите по ссылкам: ДОСТАВКА и ОПЛАТА
Менеджер компании "Челябрезинатехника" предоставит вам номер транспортной накладной для возможности отслеживания перемещения вашего груза в режиме реального времени.
Не стесняйтесь обращаться, если у вас возникнут вопросы или потребуется дополнительная информация по номеру телефона +7(351) 222-1-174




























































































